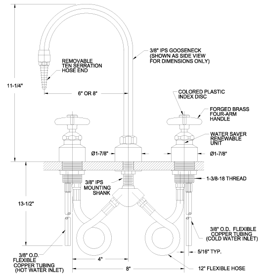
Water Faucet – L2214 Laboratory mixing faucet with rigid gooseneck
L2214 or L2214-8
Laboratory mixing faucet with 6″ or 8″ rigid gooseneck
Download AutoCad Drawing and PDF
L2214.zip 391.56 Kb
Laboratory mixing faucet with 6″ or 8″ rigid gooseneck
Download AutoCad Drawing and PDF
CSA certified under CAN/CSA B125.M89.
Complies with ANSI/ASME A112.18.1M.
Complies with ANSI/ASME A112.18.1M.
Measurements may vary +/- 1/4″

